新款10A直流電阻測試儀說明書及使用方法
新款10A直流電阻測試儀說明書及使用方法,以下是對GH-6201C直流電阻測試義的接線圖及操作步驟:
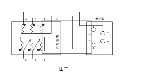
A: 單相測量法,見下圖

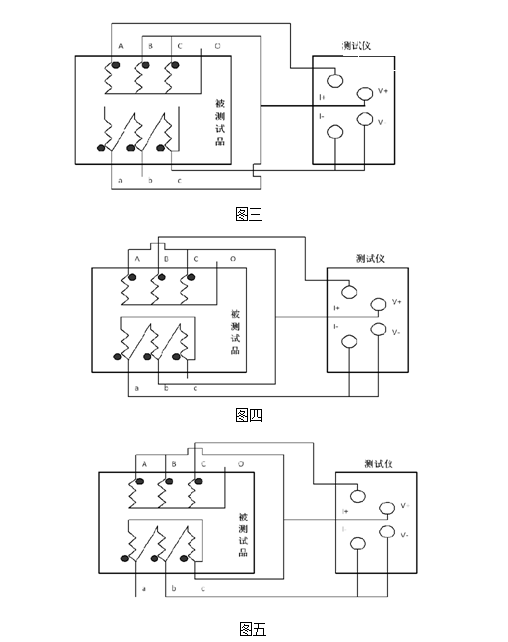
B、助磁法接線見圖三~五(適用于Y(N)-d-11聯接組別)。

對于大容量的變壓器的低壓側測量時,如果在既有的情況下,直流電阻測試儀的最大電流比較小,或者為了加快測量速度,可選擇助磁法測量。上圖中,圖三、圖四、圖五分別為測量低壓Rac、Rba、Rcb的接線方法
1、 開機頁面顯示如下圖:

按循環鍵光標可在修改時鐘、查詢數據、選擇電流之間移動,按選擇鍵可選擇測試電流,選定測試電流后,按確認鍵可啟動測量。在上圖界面中光標不論在任何位置,按確認鍵均可啟動測量。
2、 在上圖中,按循環鍵將光標移動到修改時鐘,如下圖:
按選擇鍵可進入時鐘修改和查詢界面,如下圖:

在上圖中,按循環鍵可將光標在各個日期數據之間移動,按選擇鍵減小數據,按確認鍵增加數據。
3、 在開機界面下將光標移動到查詢數據菜單,然后按選擇鍵進入數據查詢界面

4、 當選好電流后,按下確認鍵開始測試。 液晶顯示“正在充電”

過幾秒鐘之后,顯示 “正在測試”這時說明充電完畢,進入測試狀態,幾秒后,就會顯示所測阻值,如下圖。當選擇自動測試時,儀器會根據試品阻值情況自動選擇合適的輸出電流進行測試。

5、完畢后,按“復位”鍵,儀器輸出電源斷開,同時放電,音響報警,液晶恢復初始界面狀態,放電音響結束后,請一定稍等10秒鐘左右,重新接線進行下次測量,或關斷電源拆下測試線。
七、注意事項
1、在測量無載調壓變壓器倒分接線前一定要按復位鍵,放電結束后,報警聲停止,方可切換分接點。
2、有載調壓的變壓器測量高壓側電阻時從1到17選擇自動檔開始測量。
3、拆線前,一定要等放電結束后,報警聲停止,關斷電源后,再進行拆線。
4 、選擇電流時要參考技術指標欄內量程,不要超過量程和欠量程使用。超量程使用時,由于電流達不到預設值,即使強行繼續測試結果穩定性太差。欠量程時,電流太小,對于大容量變壓器數據不穩定。當出現此兩種狀態時要確認量程,選擇合適的量程進行測試。
5、 測試過程中如果出現突然自動關機時可能是由于電量不足造成的,這時需要連接充電器進行充電或設置5A以下輸出電流應急測試。
此款說明書對應的是新款:
直流電阻測試儀